|
Presidência
da República |
DECRETO Nº 89.352, DE 6 DE FEVEREIRO DE 1984.
|
Aprova o Regulamento do Departamento de Engenharia e Comunicações. |
O PRESIDENTE
DA REPÚBLICA,
usando das atribuições que lhe confere o item III, do Art. 81, da Constituição e
de acordo com o item IV do Art. 32 do Decreto nº 79.531, de 13 de abril de 1977,
na redação dada pelo Decreto nº 81.639, de 09 de maio de 1978, que dispõe sobre
a Organização Básica do Ministério do Exército,
DECRETA:
Art. 1º - Fica aprovado o Regulamento do Departamento de Engenharia e Comunicações do Ministério do Exército (R-155), que com este baixa.
Art. 2º - Este Decreto entre em vigor na data de sua publicação, revogados o Decreto nº 72.407, de 26 de junho de 1973, e as demais disposições em contrário.
BRASÍLIA-DF, 06 de fevereiro de 1984; 163º da Independência, 96º da República.
JOÃO FIGUEIREDO
Walter Pires
Este texto não substitui o
publicado no DOU 7.2.1984
REGULAMENTO DO DEPARTAMENTO DE ENGENHARIA E COMUNICAÇÕES
(R-155)
ÍNDICE DOS ASSUNTOS
|
TÍTULO I |
GENERALIDADES |
Art. |
|
CAPÍTULO I |
Do Departamento e sua finalidades |
1º |
|
CAPÍTULO II |
Da competência |
2º |
|
CAPÍTULO III |
Da subordinação |
3º/4º |
|
TÍTULO II |
ORGANIZAÇÃO |
|
|
CAPÍTULO IV |
Da organização geral |
5º |
|
CAPÍTULO V |
Da organização pormenorizada |
6º |
|
TÍTULO III |
ATRIBUIÇÕES |
|
|
CAPÍTULO VI |
Das atribuições orgânicas |
7º/8º |
|
CAPÍTULO VII |
Das atribuições funcionais |
9º/13 |
|
TÍTULO IV |
OUTRAS DISPOSIÇÕES |
|
|
CAPÍTULO VIII |
Das substituições |
14 |
|
CAPÍTULO IX |
Prescrições diversas |
15./16 |
TÍTULO I
GENERALIDADES
CAPÍTULO I
Do Departamento e sua finalidades
Art. 1º O Departamento de Engenharia e Comunicações (DEC) é o Órgão de Direção Setorial incumbido de realizar o planejamento, orientação, o controle e a coordenação dos assuntos relativos, a obras, patrimônio imobiliário, cartografia, telecomunicações, cinevideofotografia e informática.
CAPÍTULO II
Da competência
Art. 2º Compete ao DEC:
1) planejar, orientar, coordenara controlar as atividades relacionadas com:
a) obras militares;
b) obras civis em cooperação com órgãos da administração Pública;
c) bens imóveis, sob a jurisdição do Ministério do Exército;
d) documentos cartográficos;
e) instalação, exploração, segurança e sigilo das operações da Rede Fixa do Sistema Geral de Comunicações do Exército;
f) cinevideofotografia;
g) informática;
h) a gestão dos materiais de cartografia, telecomunicações, cinevideofotografia e informática.
2) coordenar o funcionamento do Sistema Geral de Comunicações do Exército (SIGECOMEX) e buscar sua articulação com o Sistema Nacional de Telecomunicações;
3) expedir diretrizes, instruções, normas, planos e programas necessários a execução das atividades que lhe são pertinentes;
4) exercer atividades relativas à organização e métodos, orçamento, administração financeira, contabilidade e auditoria, no âmbito do Departamento;
5) propor ao Ministro do Exército as medidas que visem a aprimorar a funcionalidade e o aperfeiçoamento da legislação de interesse do Departamento;
6) promover estudos, analises e pesquisas, tendo em vista o aprimoramento de suas atividades;
7) realizar a estatística referente as suas atividades;
8) integrar o Sistema de mobilização do Exército (SIMOBE) participando das atividades de estudo, planejamento, preparo e execução da mobilização.
CAPÍTULO I
Da subordinação
Art. 3º - O DEC subordina-se diretamente ao Ministro do Exército.
Art. 4º - As atividades setoriais do DEC baseiam-se nas políticas pertinentes à sua competência, traçadas pelo Ministro do Exército, e nas diretrizes correspondentes, baixadas pelo Estado-Maior do Exército (EME).
TÍTULO I
ORGANIZAÇÃO
CAPÍTULO IV
Da organização geral
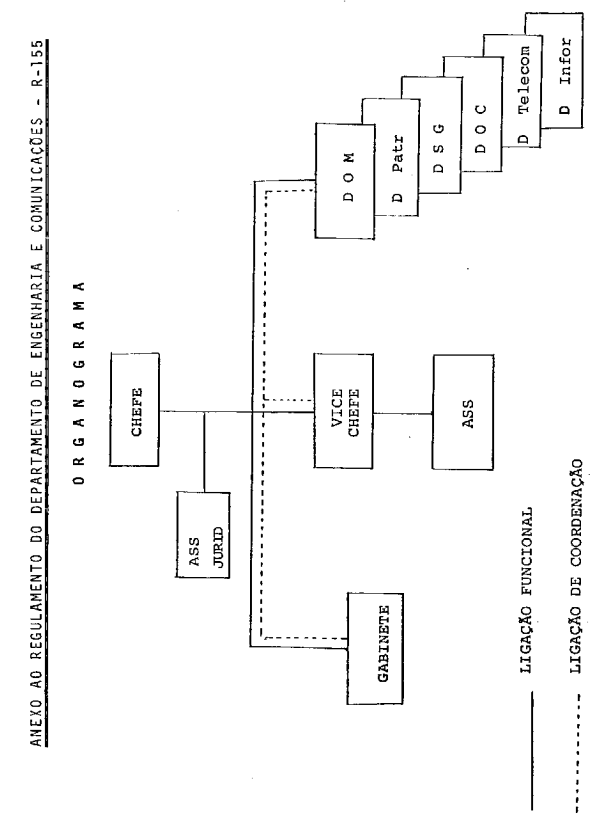
Art. 5º - O DEC compreende:
1) Chefia;
2) Órgãos de Apoio.
CAPÍTULO V
Da organização pormenorizada
Art. 6º - A organização pormenorizada do DEC é a seguinte:
1) Chefia:
a) Chefe;
b) Vice-chefe;
c) Gabinete;
d) Assessor Jurídico;
e) Assessorias.
2) Órgãos de Apoio:
a) Diretoria de Obras Militares (DOM);
b) Diretoria de Patrimônio (D Patr);
c) Diretoria de Serviço Geográfico (DSG);
d) Diretoria de Obras de Cooperação (DOC);
e) Diretoria de Telecomunicações (D Telecom);
f) Diretoria de Informática (D Infor).
Parágrafo único - O organograma do DEC é o constante do anexo.
TÍTULO III
ATRIBUIÇÕES
CAPÍTULO VI
Das atribuições orgânicas
Art. 7º - São atribuições da Chefia:
1) dirigir as atividades do Departamento;
2) orientar, coordenar e controlar as atividades das Diretorias subordinadas;
3) realizar as atividades de mobilização que lhe forem atribuídas;
4) realizar a gestão dos recursos orçamentários destinados à execução das atividades e projetos de sua competência;
5) realizar e dirigir a execução, por parte das Diretorias subordinadas, das atividades de estatística;
6) realizar o acompanhamento da execução física e orçamentária das atividades e projetos, de sua competência.
Art. 8º - São atribuições das Diretorias;
1) Gerais:
a) superintender as atividades relacionadas com os projetos e programas de sua competência;
b) elaborar propostas relativas a:
- planos, projetos, programas, instruções e normas técnicas, relativas às suas atividades;
- aperfeiçoamento da política, da legislação e das normas Administrativas em vigor;
- ornamentação e programação de recursos;
- manuais técnicos;
- visitas e inspeções.
c) fiscalizar a aplicação das normas técnicas por todos os órgãos responsáveis pela execução de atividades de sua competência;
d) realizar o controle físico, orçamentário e financeiro dos seus projetos e atividades;
e) manter contatos, quando autorizados, com instituições públicas ou privadas, relativos a assuntos de sua responsabilidade;
f) realizar os encargos e mobilizarão que lhes couberem de acordo com as Diretrizes, Instruções e Normas do SIMOBE;
g) realizar as atividades de estatística, referentes aos assuntos de sua competência;
h) promover estudos objetivando o aprimoramento e a racionalização de suas atividades;
i) assistir as Regiões Militares e Organizações Militares nos aspectos normativos e técnicos das atividades de sua gestão.
2) Específicas:
a) à DOM incumbe superintender as atividades ligadas à realização de obras militares;
b) à D Patr incumbe superintender as atividades relacionadas com a administração, alienação e aquisição de bens imóveis sob jurisdição do Ministério do Exército;
c) à DSG incumbe superintender as atividades cartográficas, relativas à produção de documentos, suprimento e manutenção de material de interesse do Ministério do Exército;
d) à DOC incumbe superintender as atividades referentes a execução de obras de cooperação com outros órgãos e entidades da Administração Pública, atribuídas a organização Militar do Exército, por força de convênios;
e) à D Telecom incumbe superintender as atividades relacionadas com a administração do Sistema de Comunicações Fixas (SISFIX) e do Serviço Cinefotográfico do Exército (SCEx), e com os assuntos atinentes ao SIGECOMEx;
f) à D Inform incumbe superintender as atividades relativas à informática de interesse do Ministério do Exército.
CAPÍTULO VII
Das atribuições funcionais
Art. 9º - São atribuições do Chefe do Departamento:
1) dirigir as atividades do Departamento;
2) responder perante o Ministro do Exército pelo cumprimento das finalidades do Departamento;
3) assessorar o Ministro do Exército no trato dos assuntos de suas atribuições;
4) integrar o Alto Comando do Exército e o Conselho Superior de Economia e Finanças;
5) orientar, coordenar e controlar as atividades das Diretorias subordinadas, para assegurar a consecução dos objetivos da Política para o DEC, estabelecido pelo Ministro do Exército;
Art. 10. - São atribuições do Vice-chefe do Departamento;
1) assessorar o Chefe do Departamento e substituí-lo em seus afastamentos temporários;
2) coordenar os trabalhos das Assessorias e Diretorias do DEC;
3) manter-se informado sobre os assuntos doutrinários, normativos e da política administrativa em curso no âmbito do Departamento e de suas Diretorias.
Art. 11. - São atribuições do Chefe do Gabinete do DEC:
1) dirigir os trabalhos do Gabinete;
2) responder perante o Chefe do Departamento pela execução das atividades-meio do Departamento, especificamente quanto a pessoal civil e militar, informações e segurança, comunicação social histórico, cerimonial, estatística e mobilização, instrução e gestão financeira e do material;
3) assessorar o Chefe e o Vice-chefe do Departamento nos assuntos de sua responsabilidade, inclusive no que se refere à situação e necessidade de recursos financeiros, destinados à atividade-meio.
Art. 12. - É atribuição dos Assessores, assistir o Chefe e o Vice-chefe do Departamento na execução de suas atribuições, executando estudos e análises preparando relatórios e elaborando pareceres, informações, documentos normativos e outros documentos que devam ser expedidos pelo Chefe do Departamento.
Art. 13. - São atribuições do Diretor de Diretoria subordinada:
1) assessorar o Chefe do Departamento nos assuntos específicos de sua Diretoria;
2) dirigir as atividades da Diretoria;
3) responder perante o Chefe do DEC pelo cumprimento dos encargos de sua Diretoria.
TÍTULO IV
OUTRAS DISPOSIÇÕES
CAPÍTULO VIII
Das substituições
Art. 14. - As substituições temporárias no DEC obedecem ao RISG e às Instruções Gerais para a Realização das Substituições Temporárias no âmbito do Ministério do Exército (IG 10-08), sendo processadas, respectivamente, dentro do Gabinete e das Acessórias.
CAPÍTULO IX
Prescrições diversas
Art. 15. - Os casos não previstos neste Regulamento serão resolvidos pelo Ministro do Exército, através de proposta do Chefe do Departamento, com base na legislação especifica.
Art. 16. - Em complemento as prescrições contidas neste Regulamento, o Departamento elaborara o seu Regimento Interno.
TABELAS
